Smart House. Cleaning the air in the house
Sold <10
The sale of this product is suspended.
The seller is blocked and sales of the product are suspended
Product description
Course project: Smart House. Cleaning the air in the house
Year: 2008
Discipline: Automatic Control Systems
Setting: The study in this course project - electronic automated control systems, measurement and control.
Subject of research - development concept and design of the air purifier with remote control.
When writing a course project was necessary to solve the following problems:
1) to consider methods of air purification;
2) create a block diagram of an air purification system and management of air purifier;
3) select the elements of the concept of cleaner;
4) determine the type of construction of a cleaner;
5) to make drawings.
The content of the explanatory note:
Introduction ..... 3
1. Methods for cleaning up the air in the industrial models of air purifiers ..... 6
2. Development of the block diagram of an air purification system in the house ..... 10
2.1. The block diagram of the air purifier ..... 12
3. Development of the concept of air purifier ..... 15
3.1. Selection of sensors and actuators ..... 15
3.2. Select items microcontroller control system ..... 24
Conclusion ..... 34
References ..... 37
Scope of work:
* Explanatory note, the number of pages: 37, MS Word
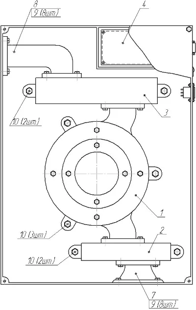
* Air purifier. Driving block: A3, Compass 7
* Air purifier. The schematic circuit diagram: A2, gif
* The list of items to the schematic circuit diagram: 2 sheets of A4, MS Word
* Air Purifier .. Assembly drawing: A1-7 Compass
* The specification for assembly drawing: 2 sheets of A4, Compass 7
* Spare part 1. The upper fan cover: A3, Compass 7
* Spare part 2. Cover the fan motor: A3, Compass 7
Year: 2008
Discipline: Automatic Control Systems
Setting: The study in this course project - electronic automated control systems, measurement and control.
Subject of research - development concept and design of the air purifier with remote control.
When writing a course project was necessary to solve the following problems:
1) to consider methods of air purification;
2) create a block diagram of an air purification system and management of air purifier;
3) select the elements of the concept of cleaner;
4) determine the type of construction of a cleaner;
5) to make drawings.
The content of the explanatory note:
Introduction ..... 3
1. Methods for cleaning up the air in the industrial models of air purifiers ..... 6
2. Development of the block diagram of an air purification system in the house ..... 10
2.1. The block diagram of the air purifier ..... 12
3. Development of the concept of air purifier ..... 15
3.1. Selection of sensors and actuators ..... 15
3.2. Select items microcontroller control system ..... 24
Conclusion ..... 34
References ..... 37
Scope of work:
* Explanatory note, the number of pages: 37, MS Word
* Air purifier. Driving block: A3, Compass 7
* Air purifier. The schematic circuit diagram: A2, gif
* The list of items to the schematic circuit diagram: 2 sheets of A4, MS Word
* Air Purifier .. Assembly drawing: A1-7 Compass
* The specification for assembly drawing: 2 sheets of A4, Compass 7
* Spare part 1. The upper fan cover: A3, Compass 7
* Spare part 2. Cover the fan motor: A3, Compass 7
Main features
- Content type File
- Content description 681,88 kB
- Added to the site 17.08.2010
Additional description
Explanatory Notes made in Word, the formula typed in the formula editor Equation, graphics built in MathCad. Drawings and technical documentation made in KOMPAS-7.
Images
Reviews
No reviews yet
The sale of this product is suspended.
teh-diplom
Blocked
teh-diplom
Blocked