Targ SM In 1989 the solution of D10 B24 (Fig. 2usl. 4) Targ SM In 1989 the solution of D10 B24 (Fig. 2usl. 4)
Targ SM In 1989 the solution of D10 B24 (Fig. 2usl. 4)
Targ SM In 1989 the solution of D10 B24 (Fig. 2usl. 4)

Targ SM In 1989 the solution of D10 B24 (Fig. 2usl. 4)

Sold <10
0 000 X
There are no such quantities in stock
By clicking the button, you agree to terms for buyers
Secure deal
Instant delivery

Product description

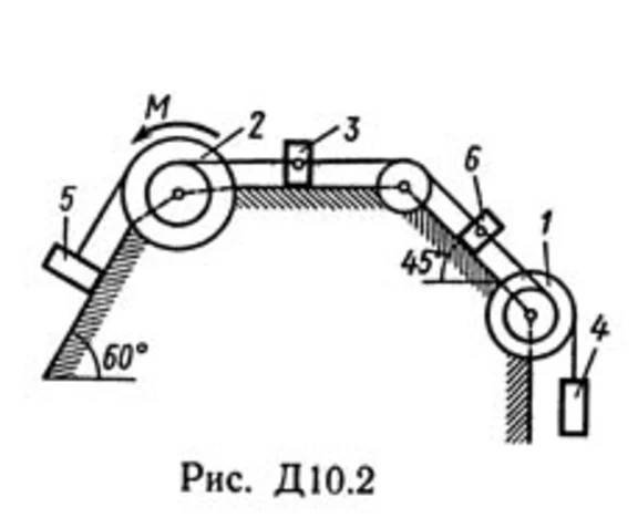
The task of teormeh of Targa SM 1989 D10 Option 24. Conditions to task Dynamics 10 (Full condition on page 91): The mechanical system consists of a homogeneous step pulleys 1 and 2 wrapped yarns, 3-6 cargo attached to these threads and weightless unit (Fig. D10.0 - D10.9, Table. D10). The system moves in a vertical plane under the action of gravity forces and couples a torque M applied to one of the pulleys. Radii stages pulley 1 are: R1 = 0,2 m, r1 - 0,1 m and the pulley 2 - R2 = 0,3 m, r2 = 0,15 m; of their radii of gyration about the axes of rotation are respectively p1 = 0,1 m and p2 = 0,2 m. Neglecting friction, determine the acceleration of the load, having a greater weight; weights P1, ..., P6 and pulleys goods specified in the table in Newtons. Loads, the weight of which is equal to zero, the figure does not represent the (pulleys 1 and 2 depict always as part of the system).

Main features

  • Content type File
  • Content description 25 kB
  • Updated on the site 08.07.2013
After payment, download and print the solution of D10 Option 24 (Figure 2, condition 4) of teormeh Reshebnik Targ SM 1989 for part-time students of engineering, construction, transport, instrument-specialties of higher education. The problem is framed in the format word, is added to the archive zip.

I would be very grateful if, after successful completion of the work you leave positive feedback. Believe me, for me it is very important.
Thanks in advance.

Images

Reviews

No reviews yet

0 000 X
There are no such quantities in stock
By clicking the button, you agree to terms for buyers
Targ SM In 1989 the solution of D10 B24 (Fig. 2usl. 4)
3 Sold <10
0 000 X
Secure deal
Instant delivery

Cumulative discount

250 $ the discount is 15%
50 $ the discount is 10%
30 $ the discount is 7%
15 $ the discount is 5%
5 $ the discount is 3%
3 $ the discount is 2%
1 $ the discount is 1%
Check your discount

Amount of purchases from the seller:  $

Your discount:  %

0.04 $ gift card for a positive review

Cumulative discount

250 $ the discount is 15%
50 $ the discount is 10%
30 $ the discount is 7%
15 $ the discount is 5%
5 $ the discount is 3%
3 $ the discount is 2%
1 $ the discount is 1%
Check your discount

Amount of purchases from the seller:  $

Your discount:  %

0.04 $ gift card for a positive review

You viewed